新潮能源复牌后就\"逆天\" 海南本地游资放弃罗牛山
傻大方提示您本文标题是:《新潮能源复牌后就\"逆天\" 海南本地游资放弃罗牛山》。来源是。
新潮能源复牌后就\"逆天\" 海南本地游资放弃罗牛山。游资|能源|逆天|新潮|罗牛山|海南---
和讯股票(微信号:istocknews)消息5月10日,今天大盘在外围股市普遍上涨的带动下,两市大盘小幅高开,创业板冲高以后一路走弱,率先回补了早盘向上的缺口,带动中小板、深市、沪市纷纷回落补缺,下午2点以后,大盘逐步走强,沪市以上涨125个点报收,盘面上,两市个股涨多跌少,两市近60只个股涨停,3只个股跌停,创业板最终反弹强于其它板块,以上涨0.6%报收。
龙虎榜中,游资买入净额靠前的依然是小盘股,其中次新股惠威科技今日公布分配方案:10转5股派2元,受此公告吸引,游资净买入4700余万,盘面上更是开盘后一路上扬直至涨停。
游资|能源|逆天|新潮|罗牛山|海南---傻大方小编总结的关键词

今日复牌就被游资暴卖6.41亿的新潮能源直接走出了逆天行情,以涨停开盘,之后20分钟内,以水库开闸放洪之势直接跌停,虽然盘中又经历了股价暴拉,但收盘仍大跌近5%。这波操作的带头大哥当属中信建投广州市中山三路营业部,它今天卖出了5.8亿多元。
游资|能源|逆天|新潮|罗牛山|海南---傻大方小编总结的关键词

游资|能源|逆天|新潮|罗牛山|海南---傻大方小编总结的关键词

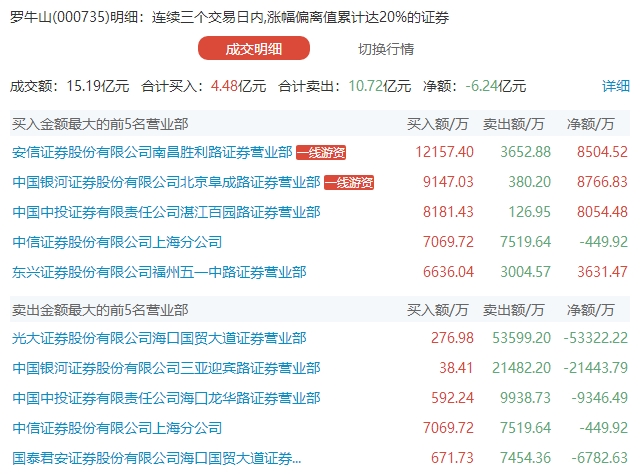
本周横空出世的"赛马"概念中的龙头罗牛山今日被游资前五卖出8.03亿,多出前五买的3.47亿一亿多元,其中一家海南本地营业部,光大证券(601788,股吧)海口国贸大道营业部疯狂出货4.2亿元,而中国银河的一家北京的营业部接盘9千多万。
游资|能源|逆天|新潮|罗牛山|海南---傻大方小编总结的关键词

而其最近三日更是被游资合计卖出10.72亿,超过合计买入的4.48亿一倍还多,光大证券海口国贸大道营业部三天顺势合计"甩单"5.3亿元,占据游资卖出一半。
游资|能源|逆天|新潮|罗牛山|海南---傻大方小编总结的关键词

本周复牌连续跌停后盘整中的广博股份(002103,股吧)今日下跌7.73%,虽然已经有游资冒着风险买入该股,但一家机构今日卖出的2400余万就已经和游资买入前五的总和差不多了,因此在游资错综复杂的交易中,该股行情并不明朗。
游资|能源|逆天|新潮|罗牛山|海南---傻大方小编总结的关键词

游资|能源|逆天|新潮|罗牛山|海南---傻大方小编总结的关键词

今日大热的医药行业中,九洲药业(603456,股吧)被游资积极换手,导致其开盘后直接放量涨停。
游资|能源|逆天|新潮|罗牛山|海南---傻大方小编总结的关键词

广州万隆认为,市场存量博弈的资金特征依旧没有改变,热点与个股难以齐涨共跌的现象自然也就无法消除。而总体来说,虽然场内资金各自为战导致热点表现散乱,但从结果来看,市场人气充分激发后赚钱效应也并不差,短线做多窗口持续开启,投资者可围绕业绩存在超预期边际改善可能或得到证实的超跌品种伺机寻找博弈机会。
- 董明珠曾站台,这家新能源公司现危机,很可能沦落为下一个乐视!
- 可直接申领杭州牌照的新能源车范围有变
- 南工程成立能源研究院校友捐千万
- 南京工程学院成立能源研究院
- 贺天才出席山西能源学院“产教融合 校企合作 校校合作”推进会
- 国内期市收盘涨跌互现 能源品种走弱塑料类涨幅居前
- 海川能源控股股东增持85万股
- 一颗在太阳的系内部星球,有大量能源储备,或有高级文明潜伏!
- 台当局丢了核能找再生能源 马英九:这是“弃马找马”
- 补贴越来越少,新能源汽车未来靠什么赢得消费者?